[Future Technology Research Index]
[SGI Tech/Advice Index]
[Nintendo64 Tech Info Index]
[WhatsNew]
[P.I.]
[Indigo]
[Indy]
[O2]
[Indigo2]
[Crimson]
[Challenge]
[Onyx]
[Octane]
[Origin]
[Onyx2]
(check my current auctions!)

150MHz R4400 CPU Upgrade
Features
- 150MHz R4400 CPU
- 75MHz external clock rate
- Integrated 16 KB data cache
- Integrated 16 KB instruction cache
- 1MB of high-speed secondary cache (l5ns)
- Supports up to 384 MB of memory
- Superpipelined architecture
- Uncached store buffering
- Simple end-user installable board upgrade
Performance
- Balanced integer/floating point performance
- 120+ MIPS*
- 100+SPEC89*
- 82+ SPECint92*
- 86+SPECfp92*
- 22 MFLOPS*
(*) Estimated
The IRIS Indigo 150 MHz R4400 CPU upgrade brings the latest MIPS
RISC technology to IRIS Indigo and Indigo2 system users. The R4400
processor implements several major design improvements to the MIPS
R4000 CPU that result in significantly enhanced application
performance. The R4400 CPU's 150 MHz internal clock speed is 50
percent faster than the R4000 CPU. In addition, the R4400 processor
doubles the size of the R4000's on-chip caches; its 16 KB data and
instruction caches are among the largest on-chip caches available
today. The on-chip caches combine with 1 MB of secondary cache to
give the IRIS Indigo family the highest performing cache architecture
available on the desktop. The R4400 CPU also implements a new on-chip
buffer that allows the CPU to continue running when a write to an
uncached memory address occurs. These enhancements result in typical
application performance improvements of approximately 40 percent when
compared to 50 MHz R4000-based IRIS Indigo systems.
The R4400 CPU offers IRIS Indigo and Indigo2 system users an
extremely well balanced compute engine for applications doing both
integer and floating-point computation. When combined with Silicon
Graphics' high performance system architecture, an R4400 upgraded
Indigo system gives users industry leading application
performance.
Clock Frequency
- 150 MHz internal
- 75 MHz external
Cache Memory
Primary (on-chip)
- 16 KB Instruction
- l6 KB Data
Secondary
CPU Memory
- Maximum size: 384 MB
- Expansion increment: 16/32 MB
Input/Output Ports
- 2 RS422 Serial
- 1 Bidirectional Parallel
- 1 Ethernet
- 1 Fast SCSI-2 (10 MB/sec) on Indigo
- 2 Fast SCSI-2 (10 MB/sec) on Indigo2
- 5 Audio connectors
- 2 GIO-32 bus slots on Indigo
- 2 GIO-64 bus slots on Indigo2
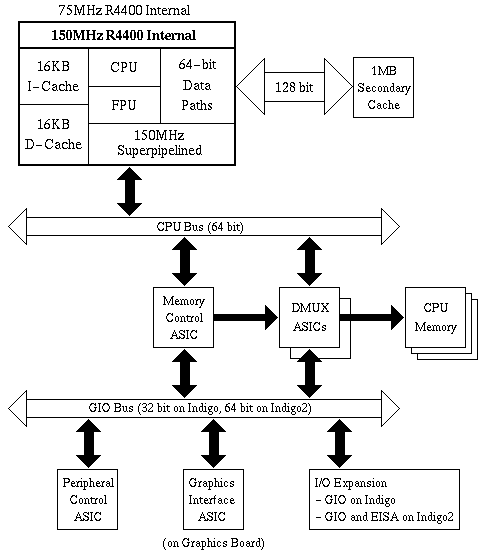
High Performance CPU Coupled with a High Performance System
Architecture.
Silicon Graphics has always designed computer systems as exactly
that: systems. A high performance microprocessor like the MIPS R4400
is underutilized if the surrounding system architecture is not
optimized to take advantage of its compute power. IRIS Indigo systems
are designed to get the most out of the R4400 CPU. IRIS Indigo
systems based on the R4000 family of microprocessors implement a
64-bit CPU bus as well as Silicon Graphics high performance GIO
system bus.
IRIS Indigo systems implement four Silicon Graphics designed
ASICS to help optimize system performance. Two of these ASICS
control the system's very high memory bandwidth (up to 400 MB/sec).
This memory bandwidth coupled with one megabyte of secondary cache
ensures efficient memory transactions. The remaining two ASICS
control the peripheral and graphics interfaces.
The combination of the 150 MHz MIPS R4400 and Silicon Graphics high
performance system architecture results in a system capable of
supporting the most demanding applications.
Typed up by Ian Mapleson (mapleson@gamers.org)
Original Document Code: IND-FAM-DS (01/93)
Last Change: 13/Jun/98
(check my current auctions!)
[WhatsNew]
[P.I.]
[Indigo]
[Indy]
[O2]
[Indigo2]
[Crimson]
[Challenge]
[Onyx]
[Octane]
[Origin]
[Onyx2]
[Future Technology Research Index]
[SGI Tech/Advice Index]
[Nintendo64 Tech Info Index]